説明
YXI永久アンカーは、YXアンカーに計測装置を追加した荷重分散型拡大ヘッド付きスマートアンカーです。アンカー内部の応力分散を実現する一方、各アンカーの各鋼より線を監視と計測をすることができます。荷重計は防水保護を採用し、より優れた計測精度と耐久性能を有します。更に、このデジタル・スマートアンカーの製造は一貫して工場で完成させるため、一定の品質が保たれています。

①計測装置内蔵
②ケーブルを通じてデータ伝達

① 鋼より線
② 測定用ケーブル
Q1: 回転噴射グラウト注入工法とは?
A: 高圧回転噴射方式を採用することにより、アンカーベースプレートの周りに拡大した定着部を形成します。
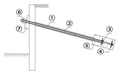
①アンボンドPCテンドンワイヤー付け
②自由部
③ホットメルトアンカー
④耐重板
⑤拡大の定着部
⑥定着ナット
⑦アンカープレート
Q2: このアンカーの測定精度は?
A: このスマートアンカーは各鋼より線まで監視や計測する可能。
Q3: 計測したデータの観測方式
A: 現場計測のデータはメディアに無線伝達します。携帯、パソコンなどにリアルタイムで監視や計測が可能です。
Q4: 適用鋼より線の最大本数は?
A: この製品を単一使用する場合、最大本数は6本、アンカーロッドの最大内径は205mmです。

Q5: このアンカーは環境にやさしい製品ですか?
A: このアンカーは鋼材、鋼より線を被覆した超強度樹脂及びPEより作られ、環境にやさしい製品です。
Q6: このアンカーの防食等級は?
A: SSPC—SP5防食等級
Q7: このアンカーに適用したパイプの寸法は?
A: このアンカーは回転噴射グラウト注入工法を採用、パイプは不要です。超硬質土層を直接推進できない場合は、掘削用ビットを使用し掘削してから回転噴射注入施工をします。
Suzhou NG Foundation Engineering Co., Ltd.
住所: F3, No.711, Binhe Road, New District, Suzhou City, Jiangsu Province
担当者: Zhou Jianming
Fax: +86-512-68093311