YXシリーズ永久アンカーは飽和粘土、粘土、砂質土などの土層向け荷重分散型拡大ヘッド付き回転噴射グラウトアンカーです。高圧回転噴射の方式を採用することより、アンカーベースプレートの周りに拡大した定着部を形成します。アンカーのカを数個の耐圧板を介して、地盤に確実に分散伝達します。それによってアンカーの安定性と引抜き抵抗力を大幅に向上させ、長期にわたる耐久性および構造安定性に優れています。またこのグラウトアンカーは掘削、投錨、セメントグラウトを一体化として効率向上と工期短縮を実現します。
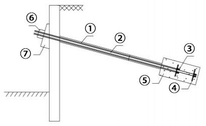
略図
①アンボンドPCテンドンワイヤー付け
②自由部
③ホットメルトアンカー
④耐重板
⑤拡大の定着部
⑥定着ナット
⑦アンカープレート
Q1: 回転噴射グラウト注入工法とは?
A: 高圧回転噴射方式を採用することにより、アンカーベースプレートの周りに拡大した定着部を形成します。
Q2: 適用鋼より線の最大本数は?
A: この製品を単一使用する場合、最大本数は6本、アンカーロッドの最大内径は205mmです。

Q3: このアンカーは環境にやさしい製品ですか?
A: このアンカーは鋼材、鋼より線を被覆した超強度樹脂及びPEより作られ、環境にやさしい製品です。
Q4: このアンカーの防食等級は?
A: SSPC—SP5防食等級
Q5: このアンカーに適用したパイプの寸法は?
A: このアンカーは回転噴射グラウト注入工法を採用、パイプは不要です。超硬質土層を直接推進できない場合は、掘削用ビットを使用し掘削してから回転噴射注入施工をします。
Suzhou NG Foundation Engineering Co., Ltd.
住所: F3, No.711, Binhe Road, New District, Suzhou City, Jiangsu Province
担当者: Zhou Jianming
Fax: +86-512-68093311