当社製品は、主に以下の3つの技術で製造: インテリジェントアンカー、ホットメルト回収技術と圧縮応力分散技術

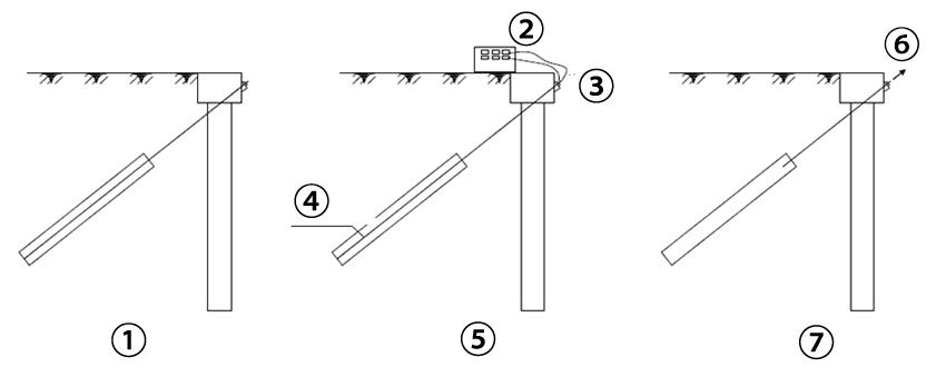
① 力測定部品を含む
② トラバースによるデータ送信

インテリジェントアンカーを用いた斜面条件と情報収集
原理
インテリジェントアンカーは、アンカーの内部にひずみゲージを組み込むことによって作られています。 このように、ひずみゲージからオフィス等の端末装置に、有線または無線でデータが送信されます。 これにより、ベアリング容量のリアルタイム監視と遠隔視覚化が可能になります。
解決された問題
当社のインテリジェントアンカーは、力測定の不正確さ、力測定機器の長期安定性維持の失敗や、高コストなどのために大規模には使用できない問題を解決します。 ひずみゲージは固定部分の端にあり、フィラーで包まれています。 応力を測定するのに使用される他のアンカーと比較して、それぞれのアンカーの各スチールストランドの内部力を監視しながら、内部応力の分散を実現します。 このことから、測定結果に応じて各ユニットアンカー間の支持力の分布を解析することができます。 当社のひずみゲージは防水性を巧みに配慮して設計されており、アンカーの力測定がより正確で長持ちします。 今日、この種のインテリジェントアンカーは、工場で一気に製造できます。
利点
1) 作業中にアンカーのベアリング容量でリアルタイム監視の実現, 生産中のアンカーの不正を回避します。
2) 95%以上の精度
3) 耐食性が高く永久補強に使用できます。
4) 土台のピットや斜面などの一時的な補強プロジェクトの使用に適します。
| 製品影響要因 | インテリジェントアンカー | 従来のダイナモメータ |
| 監視精度 | アンカーの各ストランド | アンカー全体 |
| 適時性 | リアルタイム測定 | 1-2年間有効 |
| 網羅率 | 全てのアンカーの全てのストランド | 3%-10% 比 |
| 安定性 | High | High |

① サポートステージ;
②Transformer変圧器;
③ 電気加熱;
④ ホットメルトアンロック;
⑤ホットメルトアンロックステージ;
⑥ Dismantle取り壊す
⑦ステージの解体と回収
原理
ホットメルト除去技術とは、アンカーが必要なくなったときに、アンカーを除去回収するためにホットメルト法を使用することを指します。 斜面、基礎窪み、または揚力力構造を妨げる恒久的な構造などの一時的な構造物に適用します。 この技術を応用することで、アンカーの信頼性向上と環境に配慮した工法です。
| 製品|影響要因 | ホットメルト除去ストランドアンカー | 従来の除去ストランドアンカー |
| 効率係数(安全係数) | ≥90% | 50%~80% |
| 寿命 | 5年間有効 | 1-2 年有効 |
| 長さ | 電気伝達 、影響なし | 20m以上の距離でロックを解除するのは難しい |
| 安定性 | 軽度の衝撃 | 建設中にパイプ内部にスラリー漏れが発生しやすい。 ロックを解除するのは難しい。 |

原理
圧縮応力分散技術は、アンカー構造と工法を開発するために修正された高圧ロータリースプレーと、ストレス分散を実装する新しいアンカー建設技術です。アンカーロッドの係留部は、長さ約 2 ~ 3 メートルで、直径は 0.6 ~ 0.8 メートル。アンダーリーマーアンカー部と軸受板の内側部分は一様に分布している。アンカーロッドは引き抜き力を提供し、アンカレッジのセクションと土壌体のエンドベアリングの容量に依存します。このは、効果的に建設効率と品質を改善するだけでなく、凝集土と砂の土壌に設置されたアンカーロッドの引き抜き力を増加させます。中国の多くのプロジェクトに適用される圧縮応力分散技術は、費用削減と作業効率を大幅に向上させます。

① 滑り面;
②結合していないセグメントの平均長;
③引っ張り力分散型;
④応力分散型;
⑤ フレストレス分散型
利点
① 合理的な構造
通常のテンションタイプのアンカーは、最初にアンカー端部をセメントモルタルでグラウトします。アンカーの引っ張り力は、アンカーの周囲の把持力によってセメントモルタルに伝達されます。 その後、力は、セメントモルタルの固定および地面層の間の摩擦力によって、安定した地面層の補強ゾーンに伝達され、引張力は正面から背面に向かって徐々に定着土に伝達されます。 ロッドに沿ったせん断応力は、その集中応力に不均一な分布を有します。
圧縮応力分散アンカーは、圧力タイプアンカーカテゴリに属し、未結合のスチールストランドを用いて補強材をグラウトから分離します。 ロッドの引張応力は、最初に、支持プレートによるグラウトの下端部に加わる圧縮応力でグラウチングに伝達されます。 次に、力は底部グラウチング本体と、周囲の土壌本体との間の端部抵抗を介して、固定領域の安定した土壌本体に伝達されます。
全体的な土壌および固定部の端部支持能力は、アンカーからの引き抜き力の合計60%から70%です。一方、固定部の側方摩擦は引き抜き力の30%から40%を与えます。
内部力に関してアンカー補強材は、支持プレートに、その後グラウチング本体に力を伝達します。 グラウンディングボディが受ける圧力は、総面積を増加させるのに役立ち、非局在化配置のベアリングプレートの数が少ないことで、最小限に抑えることができます。 従って、グラウトが粉砕を防止し、部分的損傷を引き起こします。


② 強力な適応性
圧縮応力分散アンカーは、構造速度の速さ、大きな引き抜き力保持能力を含む特性を持ちます。 飽和粘土、凝集土、砂土などに適しています。 さらに、基礎ピットサポート、揚力構造構築、斜面サポートなどのエンジニアリングアンカープロジェクトで広く利用することができます。以前の建設プロジェクトの統計結果:飽和粘土では、C値は20kpa、Φ値は12〜14℃の範囲内、アンカー引き抜き力は600〜900kNまで、 硬粘土では、引き抜き力はさらに約700-1100kNまで増加しました。 水質砂質土壌では、アンカー引き抜き力は600〜1200kNに達します。