
①滑り面;
②未結合セグメントの平均の長さ;
③引っ張り力分散型;
④応力分散型;
⑤プリストレス分散型
2枚以上のベアリングプレートで構成される圧縮応力分散型アンカープレートは、アンカーロッドの地中アンカー部に均一に分布し、地上主要部はドリルロッドに取り付けられています。 プレートは、引っ張り荷重の影響下での分散地中アンカリングセクション圧縮応力として有効な挙動を示す応力タイプのアンカーを有する。プレートは引張負荷の影響下で分散 され、地中アンカーセクションの圧縮応力として効果的に動作する応力タイプのアンカーを有します。
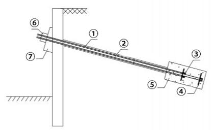
① ワイヤ付き未結合テンドン;
② フリーセグメント;
③ ホットメルトアンカー;
④ ベアリングプレート;
⑤ アンカーセクション;
⑥ アンカー;
⑦ 基礎プレート
圧縮応力分散アンカーロッド構造図
① ワイヤ付き未結合テンドン;
② フリーセグメント;
③ ホットメルトアンカー;
④ ベアリングプレート;
⑤ アンカーセクション;
⑥ アンカー;
⑦ 基礎プレート
① 合理的な構造
通常の引張型アンカーは、まずグラウトのアンカー端をセメントモルタルで固定し、アンカーの引張力をアンカー周囲の把持力によってセメントモルタルに伝達します。その後、セメントモルタルの定着と接地層間の摩擦力を介して、安定した地盤層の補強ゾーンに力が伝達されます。引張力は、前から後ろに向かって徐々に定着土に伝達されます。ロッドに沿うせん断応力は、その集中応力による不均一な分布を持っています。
圧縮応力分散アンカーは、圧力タイプのアンカーカテゴリに属しており、未結合のスチールストランドを使用し、グラウトから補強材を分離しています。 ロッドの引張応力は、まず、ベアリングプレートによるグラウトの下端部に加わる圧縮応力でグラウチングに伝達されます。次に、ボトムグラウティングボディーと周囲の土壌の間に、引張応力は端部抵抗を介して固定領域の安定した土壌本体に伝達されます。
全体的に、土壌および固定部の端部支持能力は、アンカーからの引き抜き力の合計60%から70%を、一方、固定部の側方摩擦は引き抜き力の30%から40%をもたらします。
内圧の観点から、アンカー補強材は、ベアリングプレートおよび、グラウチング本体に力を伝達します。グラウチング本体が受ける圧力は、非局在配置のベアリングプレートの数が少ないことで、最小限に抑えることができます。従って、グラウトが粉砕されることを防止し、一部分の損傷に抑えらます。


② 強力な適応性
圧縮応力分散アンカーは、引き抜き力が大きいという特徴から建設効率が良い。飽和粘土、凝集土、砂質土などに適しており、土木工事以前の建設プロジェクトの統計結果:飽和粘土では、c値は20kpa、φ値は12〜14°の範囲内にあり、アンカー引き抜き力は600〜 硬粘土では引き抜き力がさらに700-1100kN程度まで上昇します。水質砂質土ではアンカー引き抜き力は600-1200kNに達します。